InheritableThreadLocal 從入門到放棄

新聞
HongKong
21
11:01 AM · Jan 22 ,2026

背景:

一個上線了很久但是請求量很低(平均每天一兩次)的歷史功能突然出現空指針報錯:



 

 

我們翻開代碼定位到對應的報錯代碼:



 

 

結合堆棧和代碼可以確定是由於bdIdJobMap的值為null導致往bdIdEmployeeJobMap這個map中putAll的時候空指針了。

而bdIdJobMap又取自employeeJobMapThread.get(); 那麼這個employeeJobMapThread又是何物?



 

 

哦豁,employeeJobMapThread居然是個InheritableThreadLocal。

梳理一下報錯代碼的上下文邏輯如下:

1. 首先在當前主線程中對InheritableThreadLocal類型變量employeeJobMapThread進行賦值
2. 把耗時操作提交到線程池中異步執行,在異步任務中去獲取employeeJobMapThread的值(其中線程池配置的coreSize/maxSize均為4,queue大小為3000)
3. 在主線程中執行employeeJobMapThread.remove(),在異步任務完成之後沒有執行employeeJobMapThread.remove()
4. 最後在異步任務中通過employeeJobMapThread獲取到的值為null導致後續操作空指針



是否和最近的上線有關?

相信大家都有這樣的共識:線上出現報錯,首先懷疑是否和最近的上線有關係。

我們做的第一件事情也是排查了近期的上線功能,從上線的功能點和相關代碼上來看都和這次報錯的代碼沒什麼關係,

因此初步排除了這個原因。所以接下來只能進一步瞭解代碼來排查原因了。

要搞清楚當前報錯的根因,毫無疑問肯定是要翻過InheritableThreadLocal這座小山啦。



簡單聊下InheritableThreadLocal:

提起ThreadLocal,大家應該相對都比較熟悉了,比如存放登錄用户信息到ThreadLocal變量中,然後在接口層可以比較方便的獲取登錄用户,幫助開發提效。

但是對於InheritableThreadLocal,有不少同學都不太瞭解。

挑重點來説,InheritableThreadLocal相比ThreadLocal多一個能力:在創建子線程Thread時,子線程Thread會自動繼承父線程的InheritableThreadLocal信息到子線程中,進而實現在在子線程獲取父線程的InheritableThreadLocal值的目的。

舉個簡單的栗子對比下InheritableThreadLocal和ThreadLocal:


public class InheritableThreadLocalTest {

    private static final ThreadLocal<String> threadLocal = new ThreadLocal<>();
    private static final InheritableThreadLocal<String> inheritableThreadLocal = new InheritableThreadLocal<>();

    public static void main(String[] args) {
        testThreadLocal();
        testInheritableThreadLocal();
    }

    /**
     * threadLocal測試
     */
    public static void testThreadLocal() {
        // 在主線程中設置值到threadLocal
        threadLocal.set("我是父線程threadLocal的值");

        // 創建一個新線程並啓動
        new Thread(() -> {
            // 在子線程裏面無法獲取到父線程設置的threadLocal,結果為null
            System.out.println("從子線程獲取到threadLocal的值: " + threadLocal.get());
        }).start();
    }

    /**
     * inheritableThreadLocal測試
     */
    public static void testInheritableThreadLocal() {
        // 在主線程中設置一個值到inheritableThreadLocal
        inheritableThreadLocal.set("我是父線程inheritableThreadLocal的值");

        // 創建一個新線程並啓動
        new Thread(() -> {
            // 在子線程裏面可以自動獲取到父線程設置的inheritableThreadLocal
            System.out.println("從子線程獲取到inheritableThreadLocal的值: " + inheritableThreadLocal.get());
        }).start();
    }

}


執行結果:



 

 

可以看到子線程中可以獲取到父線程設置的inheritableThreadLocal值,但不能獲取到父線程設置的threadLocal值。

為什麼InheritableThreadLocal能夠做到這點呢?

是因為在父線程創建子線程Thread的時候,Thread的構造器內部會自動繼承父線程的InheritableThreadLocal到子線程。

Thread源碼這兩處地方解釋了原因:



 

 

init方法內部實現:



 

 



通過這個簡單的介紹可以幫助對於InheritableThreadLocal不瞭解的同學有一個初步的瞭解,本文不是專門介紹InheritableThreadLocal的深入原理,所以就不展開聊了,大家感興趣可以自己進一步探索。

驗證InheritableThreadLocal+線程池:

前面介紹了InheritableThreadLocal可以自動把父線程的InheritableThreadLocal信息繼承到子線程Thread中。

但是在業務項目中真正需要用到子線程的時候正經人誰自己new Thread,咱可是用線程池的。

當然了,就像文章開頭説明的,這次報錯的代碼裏面也用線程池來執行異步任務。

那麼InheritableThreadLocal+線程池的組合會摩擦出什麼樣的火花呢?

我把這次報錯的代碼精簡之後得到下面的示例(實際代碼中往InheritableThreadLocal賦的值類型不是字符串,後面會提到):

package com.dada.bd.data.service;

import java.util.concurrent.LinkedBlockingQueue;
import java.util.concurrent.ThreadPoolExecutor;
import java.util.concurrent.TimeUnit;

public class InheritableThreadLocalWithThreadPoolTest {

    private static final InheritableThreadLocal<String> inheritableThreadLocal = new InheritableThreadLocal<>();
    private static final ThreadPoolExecutor threadPoolExecutor = new ThreadPoolExecutor(
            2,
            2,
            0L,
            TimeUnit.MILLISECONDS,
            new LinkedBlockingQueue<Runnable>(3000),
            new ThreadPoolExecutor.CallerRunsPolicy()
    );

    public static void main(String[] args) {
        testInheritableThreadLocalWithThreadPool();
        threadPoolExecutor.shutdown();
    }

    /**
     * inheritableThreadLocal+線程池測試
     */
    public static void testInheritableThreadLocalWithThreadPool() {
        // 1. 在主線程中設置一個值到inheritableThreadLocal
        inheritableThreadLocal.set("我是父線程inheritableThreadLocal的值");

        // 2. 提交異步任務到線程池
        threadPoolExecutor.execute(() -> {
            // 3. 在線程池-子線程裏面可以獲取到父線程設置的inheritableThreadLocal嗎?
            System.out.println("從線程池-子線程獲取到inheritableThreadLocal的值: " + inheritableThreadLocal.get());
        });

        // 4. 清除inheritableThreadLocal
        inheritableThreadLocal.remove();
    }

}



 

 

執行結果如圖所示,可以看到在線程池裏面也可以獲取到父線程設置的inheritableThreadLocal值。

接下來我們來分析下InheritableThreadLocal+線程池的執行過程:





 

也就説只有在以下這兩個場景下才會繼承父線程的InheritableThreadLocal:

1.線程池當前線程數 < 核心線程數

2.線程池當前線程數 >= 核心線程數 && 隊列已滿 && 線程數 < 最大線程數(本次線上報錯的代碼使用的線程池設置的coreSize和maxSize一致,所以走不到該場景)

其他情況都是在複用線程池現有的Thread,自然也就不會繼承父線程的InheritableThreadLocal。

我們提交多個異步任務到線程池來驗證下:

package com.dada.bd.data.service;

import java.util.concurrent.LinkedBlockingQueue;
import java.util.concurrent.ThreadPoolExecutor;
import java.util.concurrent.TimeUnit;

public class InheritableThreadLocalWithThreadPoolTest {

    private static final InheritableThreadLocal<String> inheritableThreadLocal = new InheritableThreadLocal<>();
    private static final ThreadPoolExecutor threadPoolExecutor = new ThreadPoolExecutor(
            2,
            2,
            0L,
            TimeUnit.MILLISECONDS,
            new LinkedBlockingQueue<Runnable>(3000),
            new ThreadPoolExecutor.CallerRunsPolicy()
    );

    public static void main(String[] args) {
        testInheritableThreadLocalWithThreadPool("張三");
        testInheritableThreadLocalWithThreadPool("李四");
        testInheritableThreadLocalWithThreadPool("王五");
        testInheritableThreadLocalWithThreadPool("趙六");
        testInheritableThreadLocalWithThreadPool("孫七");
        threadPoolExecutor.shutdown();
    }

    /**
     * inheritableThreadLocal+線程池測試
     */
    public static void testInheritableThreadLocalWithThreadPool(String param) {
        // 1. 在主線程中設置一個值到inheritableThreadLocal
        inheritableThreadLocal.set(param);

        // 2. 提交異步任務到線程池
        threadPoolExecutor.execute(() -> {
            // 3. 在線程池-子線程裏面可以獲取到父線程設置的inheritableThreadLocal嗎?
            System.out.println("線程名: " + Thread.currentThread().getName() + ", 父線程設置的inheritableThreadLocal值: " + param + ", 子線程獲取到inheritableThreadLocal的值: " + inheritableThreadLocal.get());
        });

        // 4. 清除inheritableThreadLocal
        inheritableThreadLocal.remove();
    }

}





 

執行結果用表格形式展示如下:

步驟 使用線程池 結果解釋説明
提交第一個異步任務值為【張三】 創建Thread:pool-1-thread-1 自動繼承父線程的InheritableThreadLocal值【張三】到pool-1-thread-1
提交第二個異步任務值為【李四】 創建Thread:pool-1-thread-2 自動繼承父線程的InheritableThreadLocal值【李四】到pool-1-thread-2
提交第三個異步任務值為【王五】 複用Thread:pool-1-thread-1 沒有自動繼承父線程的InheritableThreadLocal值【王五】,所以拿到了第一個任務提交時Thread繼承下來的值【張三】
提交第四個異步任務值為【趙六】 複用Thread:pool-1-thread-2 沒有自動繼承父線程的InheritableThreadLocal值【趙六】,所以拿到了第一個任務提交時Thread繼承下來的值【李四】

可以看到InheritableThreadLocal+線程池的組合,會面臨InheritableThreadLocal污染的問題,即異步任務可能取到其他父線程設置的InheritableThreadLocal值。

有同學會提到我們不是在代碼裏面加了inheritableThreadLocal.remove()來清除inheritableThreadLocal的嗎?為什麼沒有清除掉呢?

這是因為此時我們清除的只是父線程的inheritableThreadLocal,而沒有清除子線程的inheritableThreadLocal的緣故。



為什麼InheritableThreadLocal污染對線上沒有產生影響?

既然InheritableThreadLocal+線程池的組合,會存在InheritableThreadLocal污染的問題,那豈不是線上報錯的這段代碼也存在這個問題?

再次檢查代碼,確認歷史代碼的確存在這個問題,

但是,這個代碼上線2年多為啥一直穩定運行且沒有用户反饋過功能有問題?只有最近突然出現報錯?一時之間腦袋懵懵的。



 

 

仔細檢代碼之後發現:

這段代碼在父子線程之間通過InheritableThreadLocal類型變量employeeJobMapThread傳遞的值是【全量的<人員Id, 該人員基本信息>結構的map】,可以近乎看做是一個不變的常量,所以雖然異步任務會拿到污染的數據,也是正常可以用的,沒有產生業務影響。

這種感覺怎麼説呢,只能説感嘆前人的智慧,把幾乎不可能做到了可能~

好了,到這裏我們解釋了為什麼這段代碼上線這麼久一直沒問題,因為代碼確實有InheritableThreadLocal污染問題,但被污染了也不影響使用。。。所以從最終結果來看確實可以正常運行。



 

 



什麼原因導致子線程獲取到的InheritableThreadLocal值是null?

但是。。。説了這麼多,還是不能解釋為什麼線上代碼獲取到的inheritableThreadLocal值會是null。

1.難道父線程設置的inheritableThreadLocal值可能會是null?

檢查代碼發現父線程設置的inheritableThreadLocal不可能為null,頂多會是空集合:



 

 



2.難道是線程池創建之後通過prestartAllCoreThreads初始化了核心線程,在執行異步任務的時候,都是複用的已有線程導致的?

檢查了對應線程池的初始化代碼,發現並沒有初始化核心線程,也排除了這個可能。而且如果真的是該原因22年上線之後功能一定是有問題的,前面説過,該功能上線之後沒人反饋過異常,所以也可以排除該原因。



該功能22年上線之間2年多一直沒人反饋,大概率該功能之前很長時間是正常的,近期由於某個原因導致功能異常
雖然歷史代碼的用法存在子任務中獲取到的InheritableThreadLocal被污染的問題,但是被污染的值也能用,不影響正確性
只要線程池中的線程初始化的時候繼承了正確的InheritableThreadLocal值,後續就不會被清除掉,也就可以正常運行功能

從這些已知的信息來推斷,可以推斷出這段歷史代碼寫法雖然有隱患,但是不是引發當前空指針的的原因。

3.剩下的只有一種可能:存在線程池的共用。

在執行這個報錯的異步任務的時候,複用了某個已有的線程A,並且當時創建該線程A的時候,沒有繼承InheritableThreadLocal,進而導致後面複用該線程的時候,從InheritableThreadLocal獲取到的值為null。

而只要是通過這段歷史代碼創建的線程一定是沒問題的,所以一定是存在其他業務共用了這個線程池,並且這個業務優先執行進而初始化了線程池的線程,導致線程池的線程沒有繼承InheritableThreadLocal。

如下代碼示例:

package com.dada.bd.data.service;

import java.util.concurrent.LinkedBlockingQueue;
import java.util.concurrent.ThreadPoolExecutor;
import java.util.concurrent.TimeUnit;

public class InheritableThreadLocalWithThreadPoolTest {

    private static final InheritableThreadLocal<String> inheritableThreadLocal = new InheritableThreadLocal<>();
    // 這裏線程池core/max數量都只有2
    private static final ThreadPoolExecutor threadPoolExecutor = new ThreadPoolExecutor(
            2,
            2,
            0L,
            TimeUnit.MILLISECONDS,
            new LinkedBlockingQueue<Runnable>(3000),
            new ThreadPoolExecutor.CallerRunsPolicy()
    );

    public static void main(String[] args) {
        // 先執行了不涉及InheritableThreadLocal的子任務初始化線程池線程
        testAnotherFunction();
        testAnotherFunction();
        // 後執行了本次的歷史代碼,其涉及InheritableThreadLocal
        testInheritableThreadLocalWithThreadPool("張三");
        testInheritableThreadLocalWithThreadPool("李四");
        threadPoolExecutor.shutdown();
    }

    /**
     * inheritableThreadLocal+線程池測試
     */
    public static void testInheritableThreadLocalWithThreadPool(String param) {
        // 1. 在主線程中設置一個值到inheritableThreadLocal
        inheritableThreadLocal.set(param);

        // 2. 提交異步任務到線程池
        threadPoolExecutor.execute(() -> {
            // 3. 在線程池-子線程裏面可以獲取到父線程設置的inheritableThreadLocal嗎?
            System.out.println("線程名: " + Thread.currentThread().getName() + ", 父線程設置的inheritableThreadLocal值: " + param + ", 子線程獲取到inheritableThreadLocal的值: " + inheritableThreadLocal.get());
        });

        // 4. 清除inheritableThreadLocal
        inheritableThreadLocal.remove();
    }

    /**
     * 模擬另一個獨立的功能
     */
    public static void testAnotherFunction() {
        // 提交異步任務到線程池
        threadPoolExecutor.execute(() -> {
            // 在線程池-子線程裏面可以獲取到父線程設置的inheritableThreadLocal嗎?
            System.out.println("線程名: " + Thread.currentThread().getName() + ", 線程池-子線程摸個魚");
        });
    }

}

執行結果:



 

 

在項目裏面搜一下看看,果真如此,有2出地方在用這個線程池,並且另外的一處代碼中提交的異步任務不涉及inheritableThreadLocal:



 

 

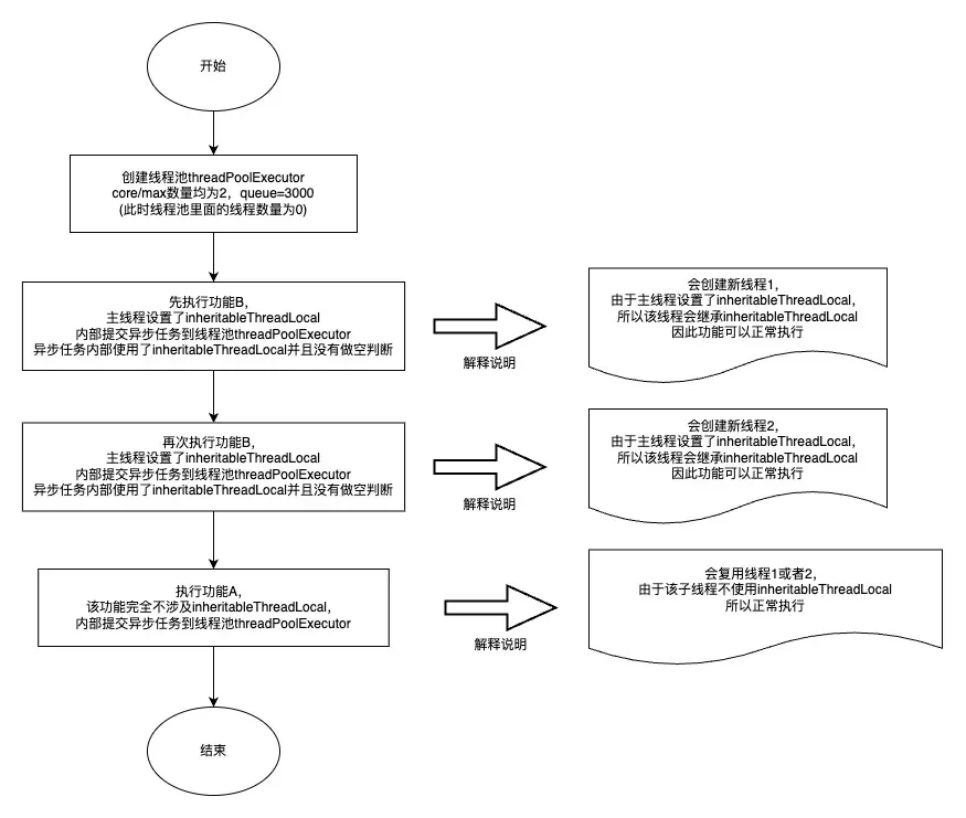
示意圖如下:

邏輯執行順序為:創建線程池 - 執行功能A - 執行功能A - 執行功能B

其中:

功能A全流程均不涉及InheritableThreadLocal

功能B對應報錯的代碼,主線程設置InheritableThreadLocal並且在子線程使用



 

 

至此,線上報錯的根因確定了:就是因為InheritableThreadLocal + 線程池共用導致。



擴展一下:

假如執行順序是這樣呢:創建線程池 - 執行功能B - 執行功能B - 執行功能A



 

 

結局居然是一切安好。



假如執行順序是這樣呢:創建線程池 - 執行功能B - 執行功能A - 執行功能B



 

 

發現了嗎?如果應用啓動之後功能B先執行並且初始化了線程池所有核心線程,那麼一切正常,否則就可能報錯。

也就是説功能B是否正常還看運氣的,運氣好就正常執行,運氣不好就報空指針的錯。



這你敢信?



 

 

小插曲:

這個問題的排查當中還遇到了2個小插曲:

插曲1:

最初懷疑是線程池複用導致的,但是在IDEA裏面搜代碼的時候粗心大意沒有看到其他地方在複用線程池。

因此期間一度自我懷疑見鬼了,導致本來可以一兩個小時確定根因的,結果饒了彎路多花了兩個小時才確定根因。

所以説排查問題的時候每一步都要保持細心,得出的每一個結論都應該是證據確鑿,理由充分

否則會讓自己兜兜轉轉浪費寶貴的時間。



插曲2:

排查代碼的時候發現異步任務代碼沒有做任何的異常處理,這其實是很坑的。

有經驗的同學應該知道,線程池裏面提交異步任務如果沒有做異常處理,出現異常的話不會有任何的日誌信息。

本地運行的時候會打印到控制枱,但是線上控制枱的信息可不會記錄到日誌裏面。

所以經常遇到異步任務執行結果不符合預期,但是線上沒有任何相關日誌就是這個原因。

我們這裏有日誌是因為使用的線程池是二次封裝過的,裏面對異步任務做了兜底的異常記錄。



總結:

前面分析到了導致空指針的原因是線程池共用導致的老代碼報錯,而共用這個線程池的代碼是新上線的功能引入的。

這就打臉了開頭我們檢查了上線的功能與此無關,實則有關。

只是我們評估複用線程池的影響時,很難想到會有這樣的影響,通常我們會考慮:

1. 是否會影響共用該線程池的老功能響應時間邊長
2. 是否存在父子任務共用線程池導致可能產生死鎖

針對InheritableThreadLocal,我個人的建議是:

1. InheritableThreadLocal(其實ThreadLocal也一樣)不適合應用於業務代碼中,因為他們都是隱式的參數傳遞,而業務系統中好維護的代碼應當是顯式的參數傳遞(我們這個線上問題就採用該方式)
2. 框架類代碼才是InheritableThreadLocal和ThreadLocal主要發光發熱的地方,因為對應的研發水平通常較高,且代碼經過嚴格測試驗證,並且較少變動。而業務系統研發水平參差不齊,且經常會發生同步操作變異步等
3. 雖然InheritableThreadLocal不建議在業務代碼中使用,但是我們還是需要掌握它,不為別的,只有掌握它的優缺點才能告訴自己和他人為什麼應該在業務代碼中放棄使用它



針對如何有效的應對業務研發遇到的一些“疑難雜症”,我的建議是:

1. 大膽提出合理的假設,小心謹慎進行驗證
2. 沒有充足理由,不要輕易下結論
3. 沒有頭緒時,休息一下,或找合適的人一起探討,給自己打開新的思路



最後,願天下沒有故障,沒有線上問題,沒有bug。

user avatar
0 位用戶收藏了這個故事!
收藏

發佈 評論

Some HTML is okay.