標題:從“事後搶險”到“事前防控”:江西水投用 TDengine 重塑防汛模式

小T導讀:在洪澇頻發的江西,江西水投打造了一套覆蓋全域的智慧水利體系:實時採集水位、流量、水質等關鍵數據,藉助 AI 與數字孿生進行動態推演,實現精準預警與智能調度。實踐證明,這套系統讓防汛從“事後搶險”變為“事前防控”,大幅提升了治理效率與安全保障。TDengine TSDB 正是這套體系的“定海神針”,承擔起海量水情數據的實時採集、存儲、處理與共享。本文由江西水投分享他們應用 TDengine TSDB 的相關經驗,給到大家參考。

應用背景

江西作為長江流域五大暴雨區之首,受亞熱帶季風氣候與鄱陽湖盆地地形影響,洪澇災害頻發且影響深遠。幾乎每年都有局部洪澇發生,較大規模災害平均 3 至 5 年便會出現一次。僅 2024 年,全省就遭遇 33 次強降雨、14 次編號洪水,46 條河湖 117 個監測站點超警,鄱陽湖更創下 21 世紀以來第二高水位,超警時間長達 38 天。

在這樣水情複雜的核心區域,江西水投正以物聯網和 AI 技術重塑傳統治水模式。江西省水利物聯網平台整合物聯網網關、數據中台與“五慧”AI 決策引擎,構建起覆蓋 217 座水廠、服務近 2000 萬人口的智慧治理網絡。從蜂巢式智能測站織就的“神經末梢”,到數字孿生峽江水利樞紐實現的防洪調度可視化,再到 DMA 分區計量將管網漏損精準鎖定,這套系統以 80 萬+ 設備的泛連接築牢供水防線,更藉助“慧算”模型延長洪水預見期,讓科技成為守護鄱陽湖生態與長江經濟帶水安全的核心支撐。

江西省水利物聯網平台不僅覆蓋全省水廠和管網,更在關鍵環節部署了精細化的感知單元。

智能測站數據採集:實時感知現場狀態

依託蜂巢式智能綜合測站,平台能夠實時採集水務現場的多維度數據,既包含環境參數(温度、濕度),也覆蓋設施運行狀態(風扇啓停、箱門開關、機箱進水、立杆傾斜度),同時還可監測 MCU 模塊、主控模塊、電源模塊等核心硬件的工況。

業務收益: 消除了傳統水務監測的“數據盲區”,為後續分析與告警提供實時、全面的數據源。從源頭確保設施運行狀態精準可感知,夯實了監測的及時性與準確性基礎。

告警模型管理:精準識別異常風險

在告警模型管理模塊中,系統可靈活配置多類型業務規則,包括超閾值告警、極值突破告警、水位/雨量異常告警、超警戒告警、對比校驗告警等,並支持對模型的啓用/停用及規則詳情進行精細化管控。

業務收益: 通過差異化的告警規則,全面覆蓋水位超限、雨量異常、設備參數越界等典型水務風險場景,使監測從“被動應對故障”升級為“主動識別風險”,顯著提升了異常發現的精準度與前瞻性,最大限度降低因異常未及時察覺而帶來的安全隱患。

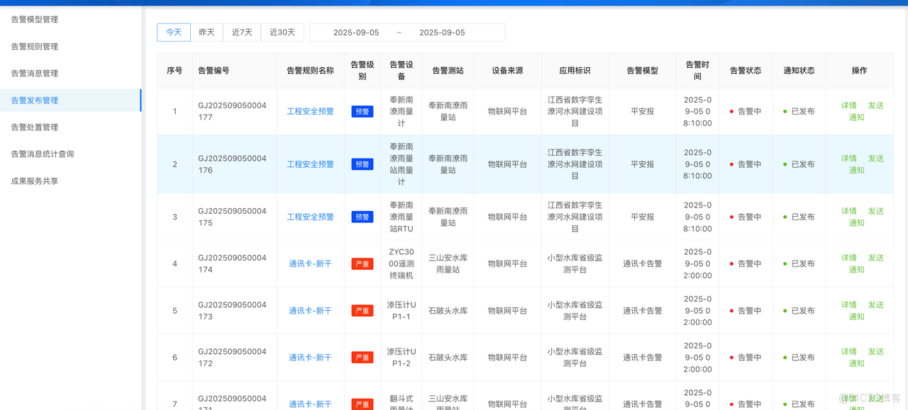
告警發佈與全流程管理:高效推動應急處置

告警發佈管理模塊能夠全要素記錄並實時推送告警信息,涵蓋告警編號、規則名稱、級別、涉及設備/測站、時間、狀態及通知情況,並支持“查看詳情”“發送通知”等操作,串聯起“告警觸發—信息發佈—人員響應”的閉環流程。

業務收益: 運維人員和管理部門可第一時間掌握告警詳情(嚴重程度、發生位置、關聯設施等),大幅縮短應急響應時長;同時,全流程的告警記錄為後續覆盤與管理優化提供依據,使水務應急處置從“經驗驅動”升級為“數據驅動”,管理效率與規範性顯著提升。

總結: 通過“採集—分析—處置”的智能化流程,系統既實現了對水務運行狀態的全方位感知與精準預警,又全面提升了應急處置的效率與規範性,為水務系統的安全與穩定運行提供了堅實支撐。

TDengine TSDB 應用經驗

TDengine TSDB 正是這套系統的“定海神針”,承擔起實時數據採集、存儲、處理與共享的核心任務。在此,我們結合業務在 TDengine TSDB 平台上的落地實踐,分享過去幾年的應用經驗。

時序數據庫選型

在早期的業務系統中,我們曾使用 Oracle 作為物聯網實時數據的存儲底座。但隨着時序數據規模的快速增長,Oracle 的瓶頸逐漸顯現,已無法高效支撐我們的業務:

  • 單表數據量達到千萬級後,查詢性能急劇下降,甚至出現無法響應的情況;

  • 存量數據隨時間累積持續膨脹,空間佔用越來越大,存儲成本直線提升。

為此,我們系統性調研了多款時序數據庫,最終選擇 TDengine TSDB,原因在於其具備以下核心優勢:

  • 高吞吐性能: 單核即可支撐每秒 50 萬條數據的寫入與查詢,並支持水平擴展,業務高峯期依然穩定運行;

  • 高壓縮比: 數據壓縮率可達 1:50,顯著降低存儲佔用和成本;

  • 國產化適配: 完全支持國產 CPU 與操作系統,提升系統的自主可控能力;

  • 低成本擁有: 兼容標準 SQL,大幅降低遷移和學習成本。

標準化設備模型

此前使用 Oracle/MySQL 時,我們習慣將所有設備數據集中存儲在一張表中,導致模型冗雜、治理困難。引入 TDengine TSDB 後,超級表的架構優勢為數據存儲與治理之間搭建起天然橋樑,使業務應用的高效性與數據管理的便捷性得以兼得。

  • 標準化設備管理: 通過超級表模板,將同類設備統一建模,實現治理從源頭落地;

  • 標籤化業務數據: 藉助標籤機制,將業務信息與數據信息有機融合,統一管理與應用;

  • 並行化數據處理: 通過超級表查詢充分發揮分佈式數據庫的優勢,實現毫秒級響應。

以流量計為例,創建超級表 FlowMeter,即可對所有同類設備的數據進行標準化建模,簡化了管理流程並提升了查詢性能。

高效的數據查詢

在 TDengine TSDB 中,各類設備的數據檢索可直接通過標準 SQL 高效實現,不需要再像 Oracle 那樣依賴複雜的表參數調優。例如在告警場景下,面對數十萬設備的告警信息,系統依然能夠在毫秒級完成查詢,全面支撐業務應用的實時性需求。

其中,緩存 + last_row 以及 超級表 + partition by 是最常用且實用的組合。以滲壓計的實時監控為例:

  • 針對單個設備,開啓緩存後使用 last_row 查詢最新數據,僅需 4.8 毫秒
taos> select last_row(*) from nwater.shenyj where deviceid = 54000000034915 >> /dev/null;
Query OK, 1 row(s) in set (0.004813s)
  • 針對所有設備,使用超級表查詢近 4 萬個設備的最新數據,僅需 167 毫秒
taos> select last_row(*) from nwater.shenyj partition by tbname >> /dev/null ;
Query OK, 37911 row(s) in set (0.167385s)

TDengine TSDB 版本升級

在跨大版本升級時,我們的核心訴求是不停服升級,以儘量減少業務影響。經過 TDengine 服務團隊評估,最終採用了三階段在線升級方案,徹底消除了我們的升級顧慮:

  • 階段一:歷史數據批量遷移——將原低版本數據從舊有集羣,批量同步至新集羣。

  • 階段二:近線實時數據遷移——將歷史數據同步期間產生的近線實時數據,從舊有集羣,實時同步至新集羣。

  • 階段三:應用切換數據庫——將應用原指向數據庫切換為新數據庫。

實踐中,在完成階段一後,我們只用了 1 個工作日就完成了新舊系統的切換。整個過程中,應用只需修改數據庫地址和部分查詢語句,對業務基本無感知,數據始終保持一致,大大節省了運維和開發的人力與時間。

這一高效遷移的秘訣在於 TDengine 企業版工具 taosX。它支持以壓縮方式實時同步集羣間數據,無需手寫遷移腳本,也無需考慮版本差異,遷移效率最高可達 千萬行/秒,顯著提升了升級的平滑性與可靠性。

4 年穩定運行下的經驗彙總

在近 4 年的應用過程中,我們從 TDengine TSDB 2.2 升級至 3.3.6.x,一路見證了產品的不斷增強與完善。期間雙方緊密協作,積累了一些值得分享的經驗,供大家參考:

  • 及時溝通與需求反饋: TDengine TSDB 企業版提供服務支持,遇到技術問題應第一時間聯繫技術團隊,以獲取最佳實踐指導,避免走彎路。同時,用户可將業務中遇到的功能需求及時反饋,企業用户往往能獲得快速的響應與支持。

  • 持續關注產品升級: 隨着 TDengine TSDB 的迭代,3.0 之後的版本功能更豐富、穩定性更高,升級過程也極為簡便。常規升級可在不停服、不改應用的情況下,於小時級完成。

  • 定期開展巡檢服務: 不要忽視 TDengine 提供的週期性自動化巡檢服務,這能幫助我們提前發現潛在問題並及時處理,保障系統的穩定運行。

期待更多的可能性

經過多年的探索與實踐,江西水投已在“水務 + IoT”架構中走在業界前列。隨着業務不斷深入,我們將從更多維度開展水文監測與預測,尤其是結合氣象數據開展中短期水文狀況的趨勢分析與相關性研究。這不僅會對 TDengine 提出新的挑戰,也為雙方合作開闢更廣闊的空間。我們期待未來 TDengine TDgpt、IDMP 等新一代產品為水務治理注入更強的智能能力,助力構建更加安全、智慧的水務體系。

關於江西水投

江西省水投江河信息技術有限公司(以下簡稱“江河信息”)成立於 2018 年 6 月,是江西水投旗下全資二級企業,是一家集諮詢規劃、軟硬件研發、綜合運營為一體的高新技術國有企業。公司承擔江西省智慧水利建設項目法人及江西水投集團信息化建設項目法人職責,致力於成為江西數字經濟產業的標杆服務商、全國智慧水利領域的一流運營服務商。

作者 | 江西省水投江河信息技術有限公司 劉博武