博客 / 詳情

返回

Apikit 自學日記:新建 API 請求

進入流程測試用例詳情頁,點擊添加測試步驟,在下拉菜單中選擇 添加API請求 ,系統會自動進入API測試步驟編輯頁面,接下來你可以編輯API的請求參數、返回結果、校驗規則等內容。

設置 API 測試步驟

API測試步驟設置分為以下幾個部分:

  1. 測試步驟基本信息 :包括測試步驟名稱、API請求地址、綁定的API文檔等;
  2. API 請求參數:包括請求頭部、請求體等內容;
  3. 提取的返回結果 :可以將測試結果進行提取,並傳遞給後續測試步驟使用。比如將登錄的token傳遞給後續測試步驟進行登錄校驗。
  4. 校驗規則 :包括請求頭部校驗規則、請求體校驗。只有設置了測試步驟的校驗規則之後,系統才會判斷測試步驟是否執行成功。
  5. 其他設置 :包括請求超時限制、測試異常處理等。

設置 API 測試步驟基本信息

測試步驟名稱

建議為每一步測試步驟起一個清晰的名稱,測試步驟名稱會顯示在測試步驟列表中,方便你對測試用例進行管理。

API 請求地址

設置 API 測試的地址,建議只輸入 API 地址的 Path 部分,Host 部分通過項目環境管理來設置。

比如:在測試環境中有一個 API 的請求地址是:abc.com/user/login
你可以在測試步驟的 API Path 中填寫 /user/login,然後把 abc.com 寫在項目環境中,這樣能夠方便你在多個測試環境中切換而不需要修改 API 測試步驟。

綁定 API 文檔
你可以將 API 測試步驟綁定某一個 API 文檔,當 API 文檔發生變化時,你可以一鍵將 API 文檔變化的內容同步到測試步驟中,減少維護測試用例的工作量。

點擊綁定按鈕,在彈窗中選擇需要綁定的 API 文檔,點擊確定即可。

當API文檔發生變化時,你可以在測試步驟的編輯頁面點擊同步按鈕更新當前API測試步驟;

或者是測試用例詳情頁通過批量操作來更新多個API測試步驟。

常見問題:為什麼不自動將API文檔的變更同步到測試步驟中?
API自動化測試一般用於對較穩定的API進行測試,這些API一般是已經可用的。

但是API文檔的變化一般比較快,當API文檔發生變化時,此時新版本的API不一定已經是可用的,文檔只是記錄了新版本的API應該是什麼樣的而已。

如果將 API 文檔的變化自動同步到自動化測試中,很可能會導致你的測試用例執行失敗,並且你無法瞭解到底同步了什麼內容。何況還有可能同時存在多個版本的API。

設置請求參數

填寫測試用例請求參數和普通的 API 測試操作一樣。

設置需要傳遞給後續測試步驟的數據

如果希望在測試步驟之間傳遞數據,比如將用户註冊 API 返回的數據傳遞給用户登錄 API,需要先定義好用户註冊 API 的預期返回結果的格式,才能夠將數據正確地傳遞給後續的用户登錄 API。
在提取返回參數一欄中,你可以選擇需要提取的返回頭部或者返回結果。

比如現有 json 返回結果:{“user_info”:{“user_name”:”eolinker”,”user_password”:”123456”,”user_type”:”normal”}}希望提取返回結果中user_info對象裏的user_type字段的值,並且傳遞給後續測試步驟使用,那麼在提取返回結果一欄中選擇返回數據類型為 json,json最外層為對象,在表格中填寫需要提取的字段在返回結果中的位置即可:

在後續的測試步驟中,將鼠標放在參數輸入框上方會出現 綁定參數 的按鈕,點擊 綁定參數 按鈕,在彈窗中選擇需要關聯的測試步驟的數據即可:

設置校驗規則

校驗返回頭部
返回頭部支持以下校驗選項:

校驗返回結果
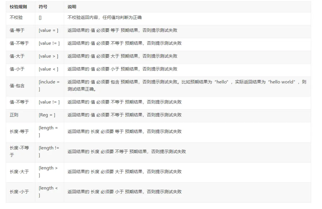
API測試用例支持5種校驗方式:

存在性校驗

當我們需要判斷返回的頭部/返回結果中的某個字段是否存在時,可以設置存在性校驗來進行判斷。

類型與類型校驗
設置對參數的類型進行校驗,返回結果的參數類型必須要等於預設的參數類型,否則提示測試失敗。

內容校驗
設置對字段值的判斷條件,不同類型的字段可能會有不同的判斷條件。

循環校驗
對於數組類型(Array[])的返回參數,API 自動化測試平台 提供了循環校驗的選項,開啓該選項之後,API 自動化測試平台 會對數組內的所有元素進行校驗,否則僅校驗數組內的第一個元素。

例如:
有如下JSON數組,當a字段(紅色部分)是一個數組類型的參數時,開啓校驗數組內元素後會對字段進行整體的循環校驗。

user avatar
0 位用戶收藏了這個故事!

發佈 評論

Some HTML is okay.